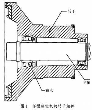
滾動軸承在使用過程中按照軸承外圈工作條件的不同可以分為:外圈相對于載荷方向靜止和外圈相對于載荷方向旋轉。對于后者,軸承內圈相對于載荷方向靜止,轉動載荷作用在軸承外圈,環模
顆粒機轉子的軸承為該轉動形式。圖1所示為環模顆粒機的轉子組件,其中,主軸靜止,轉子在動力作用下旋轉,轉動載荷作用在軸承外圈。對于該傳動形式的軸承通常其外圈與外殼采用緊配合即過盈配合。環模顆粒機在使用過程中其轉子軸承會出現溫升過高、軸承磨損嚴重和壽命短等現象。

滾動軸承內、外圈的配合和徑向工作游隙對軸承壽命、溫升、噪音等有很大的影響。以下對滾動軸承內、外圈的配合和徑向工作游隙進行分析。
1、配合
1.1軸承外圈與外殼孔的配合
軸承外圈與外殼孔的配合為過盈配合,但選用較小過盈量安裝時,外圈受載荷旋轉時,軸承滾動體與滾道產生磨擦,軸承和外殼都要受熱膨脹,但由于膨脹系數和散熱速度的不同,當外殼膨脹程度大于軸承外圈時,過盈量會減小,軸承外圈和外殼孔間會產生沿圓周方向有害的相對滑動,這種現象稱為蠕變現象,一旦發生蠕變,在配合面上就會發生明顯的磨損和軸承外圈或外殼損傷。因此,軸承外國與外殼孔的配合必須滿足最小過盈量Y
min。
另外,過盈量也不宣過大,軸承在工作負載的作用下,會引起軸承徑向游隙減小,游隙減小會引起軸承發熱,溫度升高,同時,過盈量偏大也會給軸承的安裝和拆卸帶來困難,因此,應該根據所受載荷情況選擇適當的過盈量。
1.2軸承內圈與軸的配合
通常軸承內圈與軸配合為間隙配合,配合間隙的大小取決于軸承所受載荷、軸承外圈與殼孔的配合以及軸承游隙的選擇,同時,內圈與軸的配合也會影響軸承徑向工作游隙。
2、徑向工作游隙
游隙是滾動軸承配合的一個重要的參數,它直接影響軸承的載荷分布、振動、噪聲、磨損、溫升、使用壽命和機械運轉精度等技術性能。軸承基本額定動負荷是隨著游隙大小而變化的。工作游隙過大,受力的滾動體個數減少,軸承承載能力會降低,滾動接觸面應力增大,軸承的運轉精度下降,振動和噪聲增大,軸承使用壽命縮短;工作游隙過小,會引起軸承發熱,溫度升高,甚至使軸承在運轉過程中發生咬死現象。
滾動軸承徑向工作游隙的影響因素:
①軸承外圈與外殼孔為過盈裝配,因此,在配合面處產生裝配應力,外圈發生彈性變形,外圈內滾道向內收縮,從而引起徑向游隙減小:
②工作負載作用下,轉動載荷作用在軸承外圈,徑向力使外圈產生彈性接觸變形而收縮,從而引起徑向工作游隙減小;
③軸承工作時因溫度升高對徑向工作游隙的影響,溫度升高使得軸承內圈發生膨脹,使得徑向工作游隙減小;軸承外圈和外殼都要受熱膨脹,但由于材質的不同使得膨脹系數不同,以及散熱速度影響二者膨脹程度,外圈膨脹小于外殼,徑向工作游隙減小,反之,徑向工作游隙增大;
④軸承在運行時,潤滑脂會在滾動體與內、外圈形成彈性流體動壓油膜承擔負載,油膜厚度的存在會使徑向游隙減小,動壓油膜厚度跟潤滑脂的粘度有關。
3、實例應用
某型號環模顆粒機,主軸軸頸d,外殼內孔徑D,軸承為SKF球面滾子軸承,軸承標準游隙95~145μm,主軸軸頸d的上偏差O,下偏差-25 μm,外殼內孔徑D的上偏差-14 μm,下偏差-60μm。軸承外圈與外殼內孔為過盈配合,軸承內圈與軸的配合為過度配合,設備在使用過程中,會出現軸承溫升過高、軸承使用壽命短等現象。對轉子主軸軸頸d的公差帶作了修正,改為間隙配合,情況得到改善,軸承溫升在正常范圍,軸承運轉正常。
原因分析,由于初始軸承外圈與外殼孔為過盈配合,內圈與軸為過度配合,軸承在工作負載作用下,徑向力使外圈產生彈性接觸變形而收縮,從而引起徑向工作游隙減小;內圈在徑向力作用下產生收縮變形,徑向工作游隙增大,但由于最初為過度配合,變形很小,徑向工作游隙增加量很小,此時徑向工作游隙小于軸承正常運轉所需的最小游隙,因此,出現軸承溫升過高現象。增大軸承內圈與軸頸配合間隙后,內圈在徑向力作用下產生收縮變形,徑向工作游隙增大,此時徑向工作游隙滿足軸承正常運轉所需的最小游隙,當軸承經過一段時間的運行磨合,使軸承內、外圈軸的溫度相對穩定,徑向工作游隙也隨之穩定,最終軸承達到穩定運行。因此,選取合適的軸承內圈與軸頸配合間隙大小對環模顆粒機轉子軸承的正常運行是十分必要的。
4、小結
滾動軸承內、外圈的配合選取和徑向工作游隙大小對環模顆粒機轉子軸承的正常運行起很重要作用,以上影響因素間存在相互影響,因此在做類似結構設計時,根據軸承的承載情況,確定合適的軸承徑向游隙大小,要綜合考慮軸承內、外圈在過盈配合安裝以及徑向力作用下的彈性變形,溫升引起的軸承內、外圈及外殼的膨脹,動壓油膜厚度等因素對軸承徑向游隙的影響,選取合適的軸承外圈與殼孔的配合、軸承內圈與軸的配合。
三門峽富通新能源銷售顆粒機、飼料顆粒機、
秸稈壓塊機等生物質燃料飼料成型機械設備。